CE Board Exam Randomizer

⬅ Back to Subject Topics

Welded Connections

Welded connections are widely used in steel structures to transfer loads between members. They provide rigidity, continuity, and strength by joining structural components through welds. The strength of a welded connection depends on the electrode type, the configuration of the welds, and the stresses produced by direct loads and moments. The polar moment of inertia of the weld group is an important parameter in determining the distribution of stresses within the welds.

Electrode used:

Polar Moment of Inertia

$$ J = \sum (I_x + I_y) $$

Simplified Form:

$$ J = \sum L \left(\frac{L^2}{12} + \bar{x}^2 + \bar{y}^2 \right) $$

Where:

Load Effects on Welds

Due to direct load:

$$ P_D = \frac{P}{L} $$

Due to moment/torsion:

$$ R_{Tx} = \frac{T \cdot \bar{y}}{J}, \qquad R_{Ty} = \frac{T \cdot \bar{x}}{J} $$

Minimum Size of Fillet Welds

Material Thickness of Thicker Part Joined (mm) Minimum Size of Fillet Weld (mm)
To 6 mm 3 mm
Over 6 to 12 mm 5 mm
Over 12 to 20 mm 6 mm
Over 20 mm 8 mm

Maximum Size of Fillet Welds

Material Thickness Maximum Size of Fillet Weld
< 6 mm Not greater than thickness of material
> 6 mm Not greater than thickness of material minus 1.6 mm

Welded Connections (Axially Loaded)

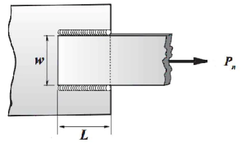
I. Longitudinal Fillet Welds Only

Concept

A. Tensile Capacity of Base Metal Connection

1) Tension Yielding on Gross Area

$$Pn = Fy (Ag)$$ $$Ag = w(t)$$

Pa = 0.60 Pn (For ASD)
Pu = 0.90 Pn (For LRFD)

2) Tension Rupture on Net Section of the Base Metal

Pn = Fu (Ae)

Ae = UAn,   An = Ag (since there are no bolt holes for welds)
Pa = 0.50 Pn (For ASD)
Pu = 0.75 Pn (For LRFD)

Where:
Fy = yield stress of the base metal
Fu = specified ultimate stress of the base metal
t = thickness of the base metal
U = shear lag factor

Note: Use the smaller value of Pn for tensile capacity of the base metal.

Shear Strength of the Base Metal

Concept

1) Based on Gross Area of Shear Surface

$$Pn = 0.60 Fy Ag$$

Ag = t(Lt)
t = smaller thickness of t1 and t2
Lt = total length of the weld

2) Based on Shear Rupture Strength

$$Pn = 0.60 F_u A_{nv}$$

Anv = t(Lt)
t = smaller thickness of t1 and t2
Lt = total length of the weld

Pa = 0.50 Pn (For ASD)
Pu = 0.75 Pn (For LRFD)

3) Weld Shear Strength

$$Pn = F_{nw} (A_{we})$$

Where:
Awe = 0.707 (t)(Lt)
t = thickness of the weld in mm
Fnw = 0.60 Fu (tension strength of the weld)
Lt = total length of the longitudinal welds

Load Resistance Factored Design (LRFD)

$$\phi Pn = \phi F_{nw} (A_{we})$$

Where: Φ Pn = design shear strength of weld, Φ=0.75

Allowable Stress Design (ASD)

$$Pa = Pn / Ω = F_{nw} (A_{we}) / Ω$$

Where: Pa = design shear strength of weld, Ω = 2


II. Longitudinal & Transverse Fillet Welds

Concept
$$P_{n1} = Pn_{wl} + Pn_{wt} $$
$$P_{n2} = 0.85 Pn_{wl} + 1.5 Pn_{wt}$$

Where:
Pnwl = total nominal strength of the longitudinal fillet welds
Pnwt = total nominal strength of the transversely loaded fillet welds
Pnwl = Fnw (Awe)

Note: Use the larger value between Pn1 and Pn2 as the design Pn.

Concept Concept Concept Concept Concept Concept
Scroll to zoom